На главную Прислать статью Форум Ссылки Обратная связь
 


europaleti in Chisinau

Телевизор Т1-Ленинград
Внешний вид телевизора 'Т1-Ленинград'
 

Основные показатели
 

Телевизор выпускался в трех вариантах: с 21 лампой, 22 лампами и 23 лампами (включая кинескоп). Радиоканалы собраны по супергетеродинной схеме с раздельным усилением по промежуточной частоте сигналов изображения и звукового сопровождения. Размер изображения на экране кинескопа 18ЛК15 105х140 мм. Рассчитан на прием первого телевизионного канала.

"Т1-Ленинград" не имеет гнезд для подключения адаптера для проигрывания граммофонных пластинок.

Чувствительность телевизора при входном сопротивлении 75 Ом, по каналу изображения не хуже 1 000 мкВ, по каналу звукового сопровождения не хуже 800 мкВ.

Выходная мощность канала звукового сопровождения - 1,5 Вт.

Разрешающая способность по горизонтали в центре не менее 350 линий.

В телевизоре имеется один специальный динамик.

Потребляемая от сети мощность 280 Вт.

Наружные размеры футляра 365х675х335 мм. Вес 32 кг.

Общее число ламп в приемнике "Т1-Ленинград", включая кинескоп, - 23 штуки:
1. Усилителя высокой частоты на лампе Л1 - 6Ж4;
2. Смеситель на лампе Л2 - 6Ж4;
3. Гетеродин на лампе Л3 - 6С2С;
4. 1 каскад УПЧИ на лампе Л4 - 6Ж4;
5. 2 каскад УПЧИ на лампе Л5 - 6Ж4;
6. Видеодетектор на лампе Л6 - 6Х6С;
7. Видеоусилитель на лампе Л7 - 6П9;
8. 1 каскад УПЧЗ на лампе Л8 - 6Ж3;
9. 2 каскад УПЧЗ на лампе Л9 - 6Ж3;
10. Ограничитель на лампе Л10 - 6Ж3;
11. Частотный детектор на лампе Л11 - 6Х6С;
12. Предварительный каскад УНЧ на лампе Л12 - 6Ж7;
13. Оконечный каскад УНЧ на лампе Л13 - 6Ф6С;
14. Селектор (левый триод) и ограничитель импульсов синхронизации (правый триод) на лампе Л14 - 6Н7С;
15. Блокинг-генератор, генератор напряжения пилообразно-импульсной формы на лампе Л15 - 6Н7С;
16. Оконечный каскад кадровой развертки на лампе Л16 - 6Ф6С;
17. Задающий генератор строчной развертки на лампе Л17 - 6Н7С;
18. Оконечный усилитель строчной развертки на лампе Л18 - Г-411;
19. Демпферный диод на лампе Л19 - 1Ц1С;
20. Импульсный выпрямитель для питания анода кинескопа на лампе Л20 - 5Ц4С;
21. Кенотронный выпрямитель на лампе Л21 - 5Ц4С;
22. Кенотронный выпрямитель на лампе Л22 - 5Ц4С;
23. Кинескоп - 18ЛК15.  

Схема 

Высокочастотный блок состоит из усилителя высокой частоты на лампе Л1, смесителя на лампе Л2 и гетеродина на лампе Л3. Входное устройство телевизора представляет собой трансформатор, рассчитанный на подключение несимметричного фидера с волновым сопротивлением 75 Ом. Управляющая сетка смесительной лампы через трансформатор L3, L4 связана с анодным контуром УВЧ, а на катод этой лампы подается напряжение, генерируемое гетеродином лампой Л3, который собран по трехточечной схеме с индуктивной связью.

Канал изображения. Канал сигналов изображения состоит из двух каскадов УПЧ (лампы Л4 и L5), детектора (лампа Л6) и видеоусилителя (Лампа Л7).

Частотная характеристика УПЧ формируется настройкой трех контуров, один из которых (L7,L7,C17,C18) имеет двухгорбую характеристику, а два других одногорбую. Контур L9,C23 - режекторный. С анодным контуром смесителя связан контур L12,L13C39, настроенный на промежуточную частоту звука. Регулировка контрастности осуществляется переменным сопротивлением R20, с которого в цепь катода лампы Л4 подается положительное напряжение. Детектор на лампе Л6 собран по двухтактной схеме. Лампа Л7 - усилитель сигналов изображения. Дроссели Др2, Др3 и Др4 корректируют частотную характеристику усилителя сигналов изображения в области высоких частот.

Канал звукового сопровождения состоит из двухкаскадного усилителя промежуточной частоты (лампы L8 и Л9), ограничителя (лампа Л10), частотного детектора (лампа Л11) и двухкаскадного усилителя низкой частоты (лампы Л12 и Л13). Для улучшения качества звучания в усилителе низкой частоты применена отрицательная обратная связь.

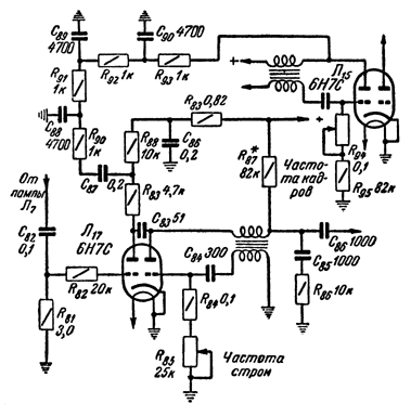
Блок синхронизации. Левый триод лампы Л14 служит селектором, а правый - ограничителем импульсов синхронизации. Разделение импульсов синхронизации на строчные и кадровые производится при помощи дифференцирующей (R87, С86 и интегрирующей (R71,C75, R70, R69, С77) цепочек.

Развертывающие устройства. Кадровая развертка в телевизоре состоит из блокинг-генератора, генератора напряжения пилообразно-импульсной формы (лампа Л15) и усилителя (лампа Л16) с дроссельным выходом.

В строчной развертке в качестве блокинг-генератора и разрядной лампы также использован двойной триод (лампа Л17).

Выходной каскад строчной развертки на лампе Л18, являющийся генератором пилообразного тока, при помощи трансформатора Tp5 связан со строчными отклоняющими катушками. На этом же трансформаторе имеется специальная демпферная обмотка, соединенная с лампой Л20.

Питаниe анода кинескопа производится импульсным выпрямителем на лампе Л19.

Низковольтный выпрямитель собран на двух кенотронах Л21 и Л22, соединенных параллельно.

В телевизоре использована высокоомная фокусирующая катушка Кф, включенная между плюсом анодного напряжения и шасси. Катушка подмагничивания громкоговорителя Др8 вместе с конденсатором С69 образует дополнительную ячейку фильтра в анодной цепи канала звукового сопровождения.
 

Принципиальная схема телевизора "Т1-Ленинград"
 
Вариант с 23 лампами
Фрагмент схемы с 22 лампами


Расположение ламп и деталей на шасси телевизора "Т1-Ленинград"


 
 Расположение ламп и деталей на шасси телевизора 'Т1-Ленинград'




Реклама:     Исправление недостоверности сведений в ЕГРЮЛ опытными юристами. -- Авто с аукционов Японии - japautobuy.ru: быстрое оформление и проверенные машины.


 
views: 541 | users: 537
web3

При перепечатке материалов ссылка на первоисточник обязательна.

© 2006-2026 www.radiolamp.ru

Яндекс.Метрика